Lademodi und Schnittstellen sorgen in der Elektromobilität für viel Gesprächsstoff. Während einige Fahrzeughersteller sich dafür stark machen, dass man einen globalen Standard festlegt, sehen andere Hersteller kein Problem darin, mehrere Adapter für die unterschiedlichen Systeme zu haben. Tesla Motors hat für die eigenen Fahrzeuge die Schnellladestationen „Supercharger“ entwickelt, welche jedoch ausschließlich von Tesla-Fahrzeugen genutzt werden können.
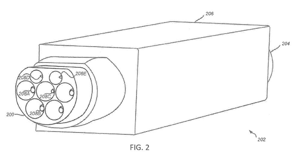
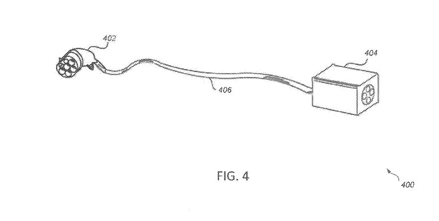
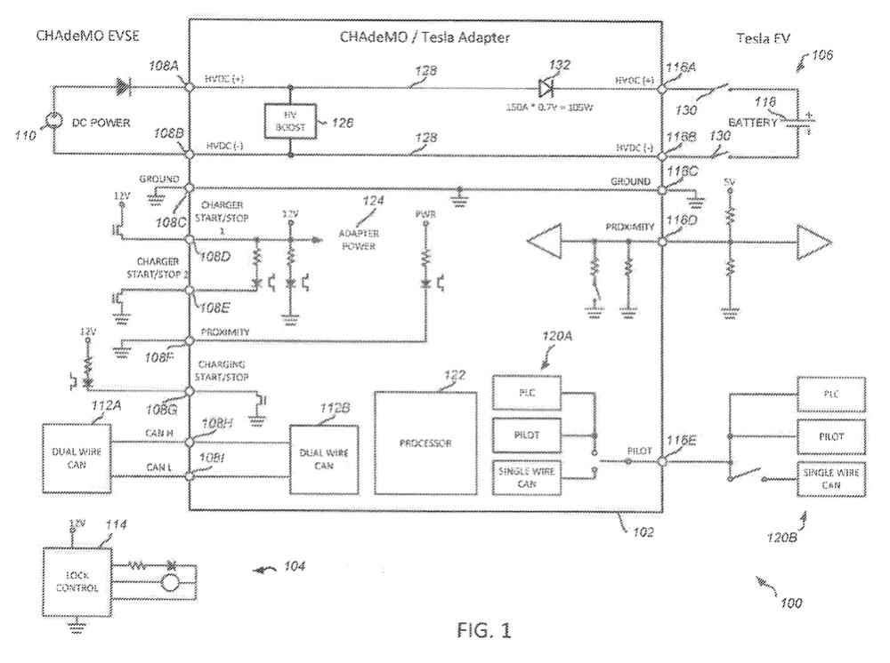
Nun hat Tesla Motors vor wenigen Tagen ein neues Patent angemeldet, welches aufzeigt, dass man an einem Ladeadapter arbeitet, welcher sowohl CHAdeMO als auch SAE J1772 unterstützt. Da die Kalifornier ihre Patente nur aus Selbstschutz anmelden und ansonsten allen Herstellern die Möglichkeit bieten diese kostenlos zu nutzen, könnten auch andere Fahrzeughersteller daran interessiert sein.
Tesla-CEO Elon Musk hat bereits mehrmals erwähnt, dass er auch anderen Herstellern erlauben würde, das Schnellladenetzwerk von Tesla Motors zu nutzen. Bei seinem letzten Aufenthalt in Paris erklärte er noch einmal:
Wir wollen alles dafür tun, um den Einzug in den nachhaltigen Transport zu beschleunigen. Unser Ladenetzwerk ist also für jeden anderen Hersteller geöffnet, der dieses nutzen will.
Musk sagte zudem, dass man die europäische Standard-Schnittstelle in den Supercharger-Stationen in Europa hinzufügen wird, sodass andere Hersteller die Supercharger von Tesla Motors nutzen können.
Bereits im September letzten Jahres hatte Musk bestätigt, dass man in Gesprächen mit einigen Herstellern sei, welche das Supercharger-Netzwerk nutzen wollen. Dabei machte der CEO jedoch keine genauen angaben, um welche Hersteller es sich handelt. Es sei zwar auf jeden Fall ein europäischer Hersteller daran interessiert, dieser würde jedoch nicht aus Deutschland stammen.




